TPS2HB35-Q1具有高精度模拟电流检测功能,可改进负载诊断。通过向系统MCU报告负载电流和设备温度,开关奇能够进行预测性维护和负载诊断,从而提高系统的使用寿命。
Texas Instruments TPS2HB35-Q1采用超薄型小尺寸封装,可减少PCB基底面。TPS2HB35-Q1高侧开关符合汽车应用类AEC-Q100标准。
特性
- 符合汽车应用标准
- 下列性能符合AEC-Q100标准:
- 设备温度等级为1级(TA = -40°C至125°C环境工作温度范围)
- 设备HBM ESD分类级别为2级
- 器件充电器件模型 (CDM) ESD分类等级C4B
- 承受40 V负载突降
- 双通道智能高侧开关,35mΩ RON(TJ = 25°C)
- 通过可调限流提高系统级可靠性
- 电流限值可在2A至28A之间调节,内部固定为36A
- 强大的集成输出保护
- 集成式热保护
- 接地短路或电池短路保护
- 电池反接保护,包括反接电压自动开机
- 若出现电池/接地损失,则自动关闭
- 集成输出钳,消磁电感负载
- 可配置故障处理
- 可对模拟检测输出进行配置,以精确测量
- 负载电流
- 器件温度
- 通过SNS引脚提供故障指示
- 检测开路负载和电池短路
应用
- 汽车显示屏模块
- ADAS模块
- 座椅舒适模块
- 变速器控制单元
- 暖通空调控制模块
- 车身控制模块
- 白炽灯和LED照明
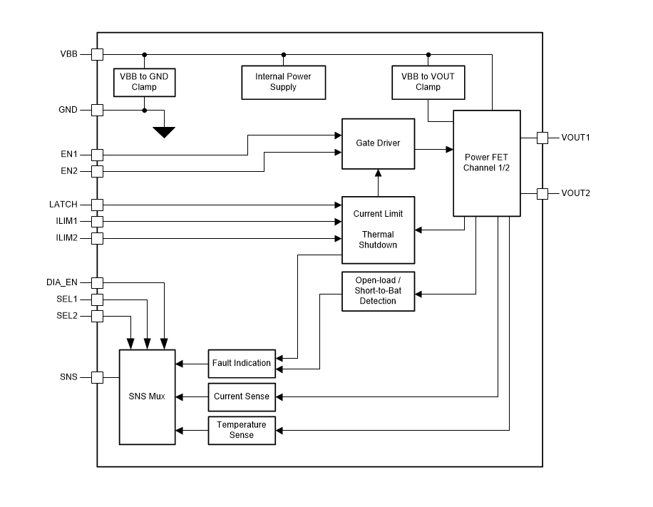
功能图
发布日期: 2020-01-21
| 更新日期: 2025-03-06

