远程检测引脚通过计算PCB迹线上的压降,实现大电流内核轨上的高度精确电压测量。凭借I2C的功能,可灵活选择阈值、复位延迟、毛刺滤波以及引脚功能。凭借内部毛刺抑制和噪声滤波器,无需外部RC元件,从而减少电源瞬变引起的错误复位。此外,该器件无需外部电阻器,即可设置过压和欠压复位阈值,从而进一步优化了整体精度、成本、解决方案尺寸,并提高了安全系统的可靠性。
该器件提供CRC错误校验、导通或关断时序列记录以及内置ADC(用于冗余错误校验时电压读取)。此外,TPS389006还具有同步功能,可在每个出现时对电源轨进行标记。TPS389006/TPS389006-Q1器件还与TI的电源排序器TPS38700配对,确保正确的上电序列和电压监控,以符合SIL-3标准。Texas Instruments TPS389006-Q1器件符合汽车应用类AEC-Q100认证。
特性
- 符合功能安全标准
- 开发用于功能安全应用
- 文档,协助IEC 61508系统设计
- 系统能力高达SIL 3
- 硬件能力高达SIL 3
- 监控最先进的SoC
- 阈值精度:±6mV(–40°C至+125°C)
- 输入电压范围:2.5V至5.5V
- 欠压闭锁 (UVLO):2.48V
- 低待机静态电流:200µA
- 六个通道,带两个远程检测单元
- 固定窗口阈值水平
- 5mV步进(0.2V至1.475V)
- 20mV步进(0.8V至5.5V)
- 微型解决方案和最低元件成本
- 3mm x 3mm QFN封装
- 可通过I2C调节毛刺抑制
- 通过I2C用户可调电压阈值电平
- 设计用于安全应用
- 有效低电平开漏NIRQ输出
- 内置8位ADC,用于实时电压读取
- 循环冗余校验 (CRC)
- 数据包错误检查 (PEC)
- 顺序和故障记录
- 同步功能,用于对电源轨标记
- 连接多通道序列器,实现排序功能
应用
- 医疗机器人
- 工业机器人
- 服务器交换机
- 电机驱动器
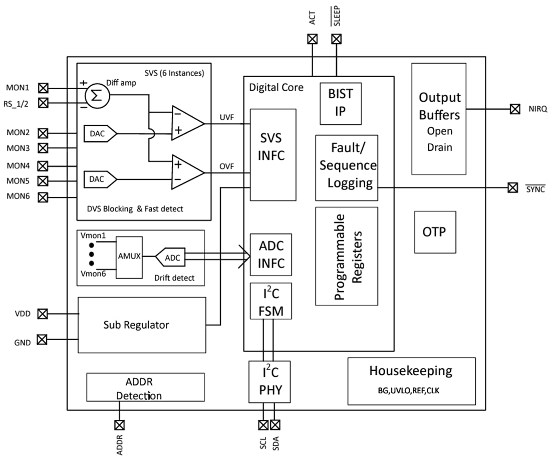
功能框图
发布日期: 2023-08-17
| 更新日期: 2023-08-25

