该器件提供针对过电流限制、VOUT OVF/UVF和OTF的故障管理和状态报告。TPS544C26器件提供一整套遥测功能,包括VOUT 、IOUT 和IC温度。此外,还通过外部感应电阻器提供输入功率监控,以实现电路板级电源管理。Texas Instruments TPS544C26是一款无铅器件,符合 RoHS 标准,无需豁免。
特性
- 适用于SVID轨的单芯片电源
- 符合Intel VR13 SVID标准
- I2C接口,带NVM,用于配置、遥测 (V/I/T) 和故障报告
- 针对DDR5存储器RAPL的输入功率监控
- 集成4.0mΩ和1.0mΩ MOSFET,可实现35A持续电流运行
- 支持外部5V偏置,从而提高效率并实现2.7V最小输入电压
- VOUT可编程范围:0.25V至3.04V
- 精密电压基准和差分遥感,可实现高精度输出
- 0°C至85°C TJ 范围内的V OUT 容差:±0.5%
- –40°C至125°C TJ 范围内的VOUT 容差:±1%
- D-CAP+™控制拓扑结构,具有快速瞬时响应,支持所有陶瓷输出电容器
- 可编程内部回路补偿,包括压降
- 可选逐周期谷值电流限制
- DCM或FCCM运行模式下的可选工作频率:0.6MHz至1.2MHz
- 安全启动到预偏置输出
- 可编程软启动时间:1ms至16ms
- 可编程软停止时间:0.5ms至4ms
- 开漏电源良好输出 (VRRDY) 和灾难性故障指示器 (CAT_FAULT#)
- 可编程过电流、过电压、欠压、过热保护
- 5mm × 6mm、37引脚WQFN-FCRLF封装
应用
- 服务器和云计算POL
- 硬件加速器
- 网络接口卡
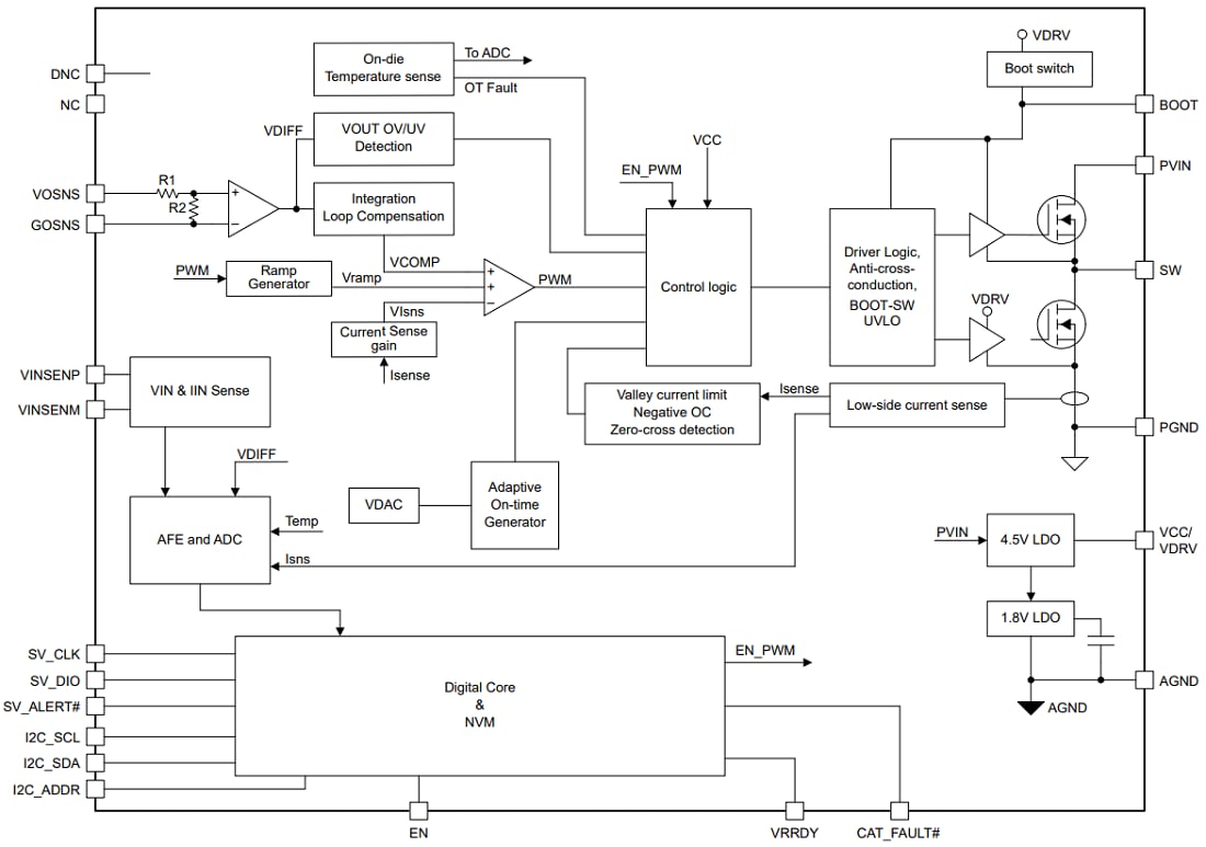
功能框图
发布日期: 2022-10-26
| 更新日期: 2023-05-02

