TPS548D26器件具有真正的差分远程感应、高性能集成MOSFET以及在整个工作结温范围内精确的±1%、0.6V基准。该器件具有快速负载瞬态响应、精确的负载和线路调节、跳过模式或FCCM操作以及可编程软启动时间。提供过流、过压、欠压和过热保护,可选择打嗝或锁存响应。
Texas Instruments TPS548D26器件无铅,完全符合RoHS规范。
特性
- 集成4.0mΩ和1.0mΩ MOSFET,用于40A连续电流操作
- 支持外部5V偏置,提高效率并实现2.7V最小输入电压
- 输出电压范围:0.6 V至5.5 V
- 精密电压基准和差分远程感应实现高输出精度
- TJ =0°C至85°C时,VOUT 容差为±0.5%
- TJ =-40°C至125°C时,VOUT 容差为±1%
- D-CAP+™控制拓扑结构具有快速瞬态响应,支持所有陶瓷输出电容器
- 通过SS引脚可选内部环路补偿
- 可选逐周期谷值电流限制
- 可选工作频率:0.6MHz至1.2MHz,DCM或FCCM运行
- 安全启动预偏压输出
- 可编程软启动时间从0.75ms到6ms
- 开漏电源良好输出(PG)
- 过流、过压、欠压和过热保护,可选择打嗝或闭锁响应
- 5mm×6mm、37引脚WQFN-FCRLF封装
应用
- 服务器和云计算POL
- 硬件加速器
- 数据中心交换机
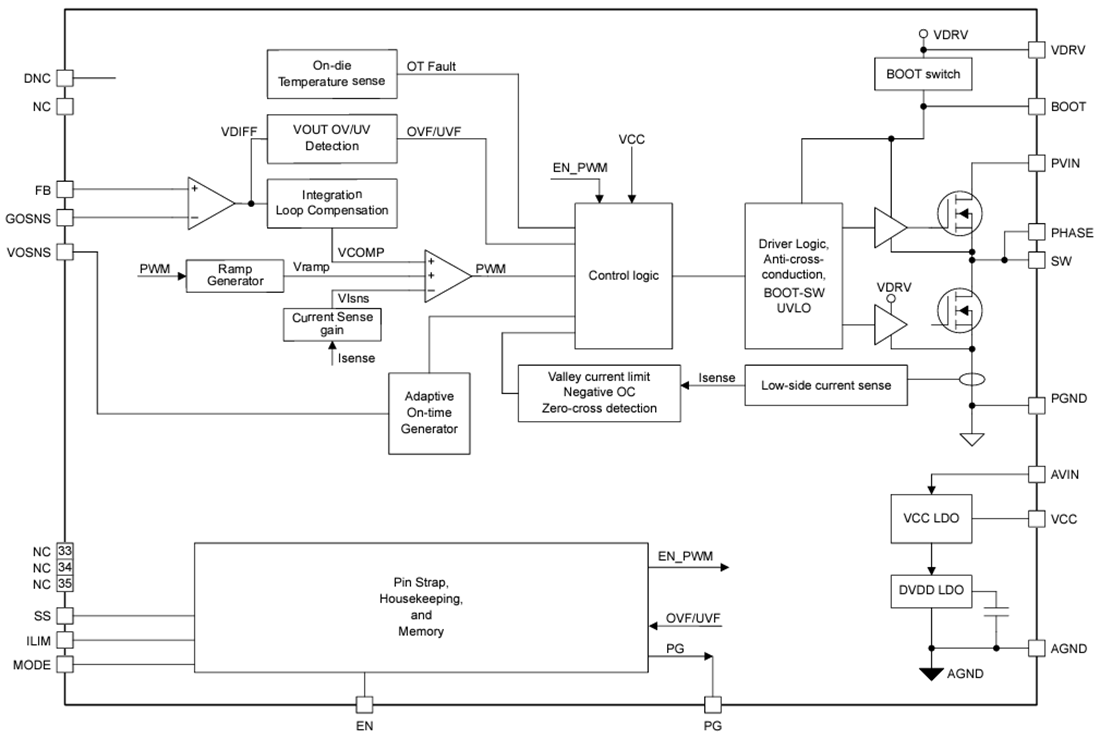
功能框图
发布日期: 2024-04-22
| 更新日期: 2024-05-06

