Texas Instruments TPS61087升压直流-直流转换器
Texas Instruments TPS61087升压直流-直流转换器是一个高频高效直流-直流转换器,配有一个集成的3.2A、0.13Ω电源开关。该集成开关能够提供高达18.5V的输出电压。650kHz或1.2MHz的可选频率允许使用小型外部电感器和电容器,并提供快速瞬态响应。外部补偿允许针对特定条件优化应用。连接到软启动引脚的电容器使启动时的浪涌电流达到最小。典型应用包括手持设备、GPS接收器、数码相机、便携式应用、DSL调制解调器、PCMCIA卡和TFT LCD偏置电源。TPS61087-Q1器件符合汽车应用类AEC-Q100标准。特性
- 输入电压范围:2.5V至6V
- 18.5V升压转换器,具有3.2A开关电流
- 650kHz、1.2MHz可选开关频率
- 可调软启动
- 热关断
- 欠压锁定
- 10引脚QFN和薄型QFN封装
应用
- 手持式设备
- GPS接收器
- 数码相机
- DSL调制解调器
- PCMCIA卡
- TFT LCD偏置电源
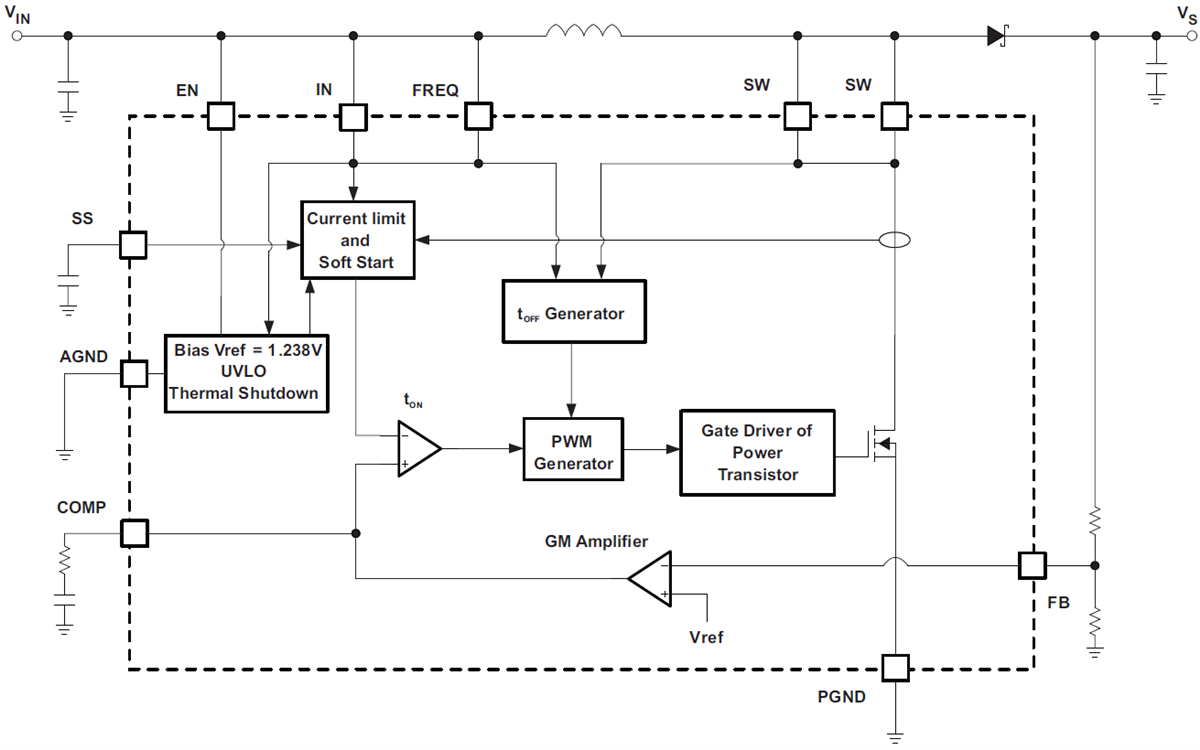
功能框图
发布日期: 2017-03-10
| 更新日期: 2022-04-15
