Texas Instruments TPS653851A-Q1多轨电源
Texas Instruments TPS653851A-Q1多轨电源设计用于为安全相关应用中的微控制器供电,例如汽车行业的相关应用。该器件支持带有双核锁步(LS)和其他多核架构的功能安全微控制器。TPS653851A-Q1集成了多个电源轨,能够为MCU、CAN或FlexRay以及外部传感器供电。通过内部FET,降压-升压转换器可将2.3V至36V的输入电池电压转换为6V前置稳压器输出,为其他稳压器供电。集成电荷泵为内部稳压器提供过驱动电压,也可用于驱动外部NMOS FET,以提供反向电池保护。该器件支持从点火信号(IGN引脚)、CAN收发器或其他信号(CAN_WU引脚)唤醒。该器件内设有独立的电压监控单元,可监控所有内部电源轨上的欠压和过压以及电池电源的稳压器输出。还提供稳压器电流限制和温度保护。TPS653851A-Q1具有问答看门狗、MCU错误信号监控、内部振荡器时钟监控、时钟监控器自检、非易失性存储器循环冗余校验(CRC)以及SPI通信等功能。它还具有诊断输出引脚(允许MCU观察器件的内部模拟和数字信号)、用于MCU的复位电路(NRES引脚),以及安全输出(ENDRV引脚),可在检测到任何系统故障时禁用外部功率级。该器件在启动时自动运行内置自检(BIST),如果需要,MCU可在系统运行期间通过软件控制重新运行BIST。专用诊断状态支持MCU检查TPS653851A-Q1功能。
TPS653851A-Q1还可通过SPI寄存器报告错误。该器件在SPI寄存器中针对系统级或器件级的每个特定错误有单独的状态位。当器件检测到特定错误条件时,它会设置适当的状态位,并保持该状态,直至MCU读取出设置了该状态位的SPI寄存器。根据所设置的状态位,MCU可以决定它是否必须将系统保持在安全状态,还是可以恢复系统运行。Texas Instruments TPS653851A-Q1器件符合汽车应用类AEC-Q100认证。
特性
- 符合汽车应用标准
- 下列性能符合AEC-Q100标准:
- 器件温度1级(-40°C至+125°C环境工作温度)
- 器件 HBM ESD分类等级2
- 器件CDM ESD分类等级C4B
- 输入电压范围
- 初始电池供电7V至36V
- 初始电池供电后全功能运行4V至36V
- 唤醒后运行时最低2.3V
- 电源轨(带内部FET)
- 6V同步降压-升压前置稳压器
- 5V、285mA LDO(CAN、外设或ADC REF 1%精度,20mA至120mA负载)
- 3.3V或5V、350mA LDO (MCU) TPS653851A-Q1
- 2个LDO得到保护,用于传感器电源或外设
- 120mA 传感器电源1 (VSOUT1),100mA传感器电源2 (VSOUT2)
- 可配置的跟踪模式(跟踪输入引脚),或者3.3V或5V固定输出电压
- 对地和电池短路保护
- 电荷泵的电压范围为高于电池电压6V至11V
- 监测和保护
- 所有稳压器输出、电池电压以及内部备件上独立的欠压和过压监控
- 电压监控电路,包括独立带隙基准,由独立的电池电压输入引脚供电
- 所有电压监控自检(通电时和外部MCU加电后)
- 所有电源均受到电流限制以及过热预警和关断保护
- 微控制器接口
- 打开和关闭窗口或回答看门狗功能
- 监控功能安全MCU故障输出(PWM或电平)、MCU错误信号监控器
- 诊断状态,进行设备自检和系统诊断
- SAFE状态,检测到系统故障时保护设备和系统
- 内部振荡器时钟监视器
- 模拟和逻辑内置自检
- 对非易失性存储器以及器件和系统配置寄存器和SPI通信的CRC
- 用于MCU的复位电路
- 诊断输出引脚
- SPI,Command Plus数据CRC
- 通过SPI寄存器报告系统级和器件级的错误
- 使能驱动输出,以在检测到任何系统故障时禁用外部功率级
- 通过IGN引脚(点火)或CAN_WU引脚(收发器或其他功能)唤醒
- 48引脚HTSSOP PowerPAD™ IC封装
应用
- 汽车安全相关应用
- 工业安全相关应用
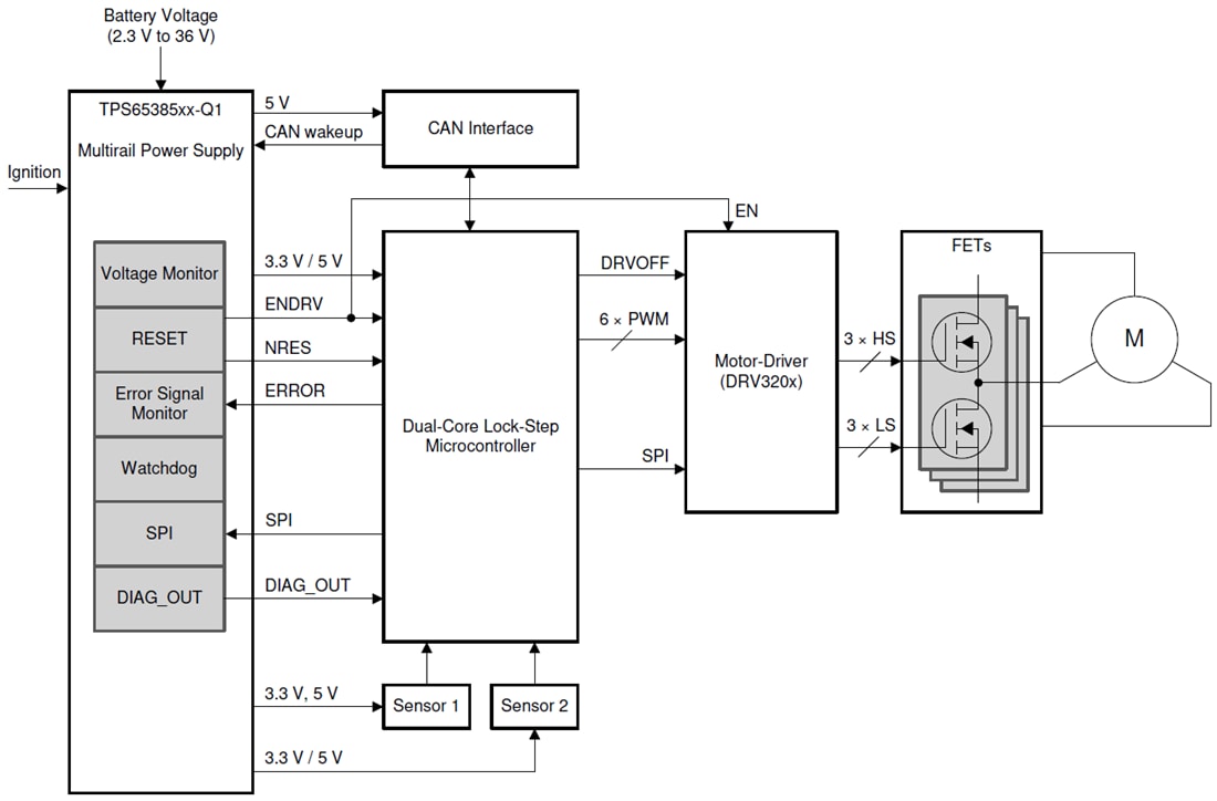
典型应用图
发布日期: 2020-03-19
| 更新日期: 2025-03-10
