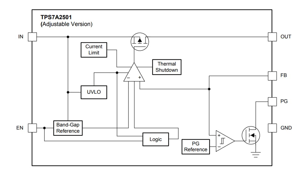
TPS7A25有固定电压和可调节电压两种版本可供选用,输出调节精度为1%,可为微控制器 (MCU) 参考提供高精度调节。固定电压版本无需外部电阻器,可最大限度减小印刷电路板 (PCB) 尺寸。可调节电压版本使用反馈电阻器将输出电压设置为1.24V至17.64V,以实现更大的灵活性或更高的输出电压。
在电流为300mA时,TPS7A25 LDO具有小于360mV的最大压降,因此工作效率更高。借助该最大压降,该器件可在5.4V输入电压 (VIN) 至5.0V输出电压 (VOUT) 范围内实现92.5%的效率。电源正常状态 (PG) 指示灯可用来将MCU保持在复位状态,直到电源正常,或用于电源定序。PG引脚具有开漏输出,因此该引脚可以轻松进行电平位移,以便通过VOUT以外的导轨进行监控。内置电流限制和热关断有助于在发生负载短路或故障时保护稳压器。
特性
- 超低IQ:2µA
- 输入电压:2.4V至18V
- 可用的输出电压选项:
- 固定:1.25V至5V
- 可调:1.24V至17.64V
- 在整个温度范围内精度为1%
- 低压差:340mV时300mA(最大值)
- 开漏电源良好输出
- 热关断和过流保护
- 主动过冲下拉
- 工作结温范围:–40°C至+125°C
- 搭配1μF输出电容器可稳定工作
- 封装:6引脚WSON
应用
- 家居和楼宇自动化
- 多电池移动电源
- 智能电网和计量
- 便携式电动工具
- 电机驱动器
- 白色家电
- 便携式设备
典型应用电路
框图
发布日期: 2019-05-20
| 更新日期: 2023-09-18

