TPS92205x支持四个调光选项:模拟、PWM、混合和灵活。可使用简单的高低信号通过PWM和ADIM输入引脚配置每种调光方法。TPS92205x采用自适应关断时间电流模式控制和智能精确采样,可实现感应快速调光 (IFD) 并实现高调光精度。
Texas Instruments TPS92205x提供多种系统保护,包括LED开路和短路、检测电阻器开路和短路、可配置热折返和热关断。一旦检测到任何故障情况,故障输出即会发出确认信号。
特性
- 宽输入范围:4.5V至65V
- LED共阳极连接
- 集成150mΩ MOSFET,典型电流限制为3A/6A
- 可选开关频率:100kHz至2.2MHz
- TPS922053和TPS922055扩频
- 高级调光选项
- 模拟调光 (256:1)
- 快速PWM调光(150ns脉冲宽度)
- 混合灵活调光(在20kHz PWM下达到2,000:1,在4kHz PWM下达到10,000:1,在120Hz PWM下达到1,000,000:1的调光比)。
- CC/CV充电模式
- 全面保护特性
- LED开路和短路保护
- 开关FET开路和短路保护
- 外部元件故障保护
- 逐周期限流
- 热关断
- 故障输出(开漏)
- 可配置的热折返曲线
- VSON、WSON和SOT-23封装选项
应用
- 恒定照明
- 室内、室外、专业照明
- 医疗、手术照明
- 投影仪、激光电视、打印机、IP摄像头
- 即时照明
- 机器视觉、相机闪光灯
- 火警、频闪
- CC和CV源
- LCD背光
- 电池充电
- TEC控制
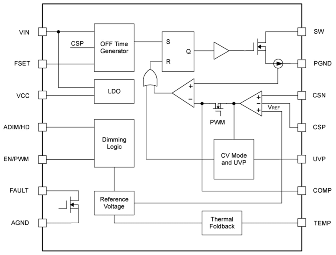
功能框图
发布日期: 2023-12-12
| 更新日期: 2025-03-05

