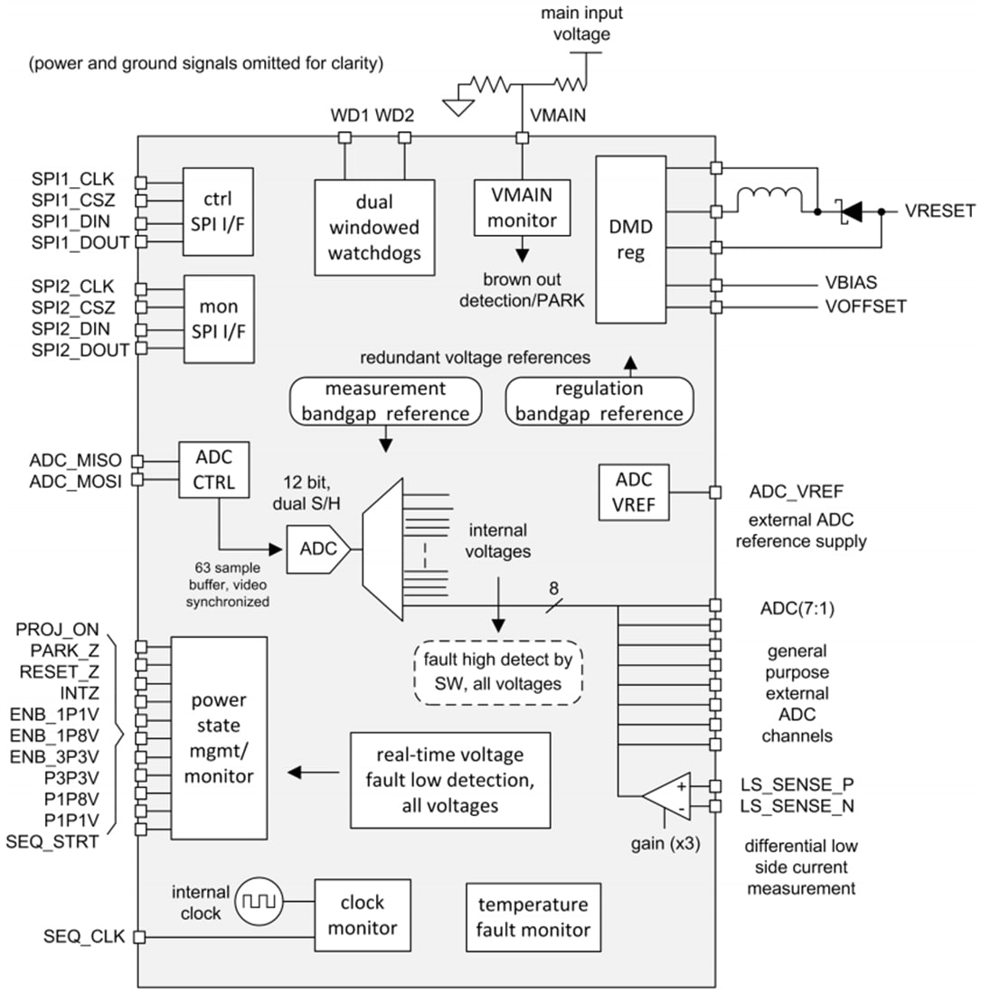
Texas Instruments TPS99001-Q1控制器集成了一个作为控制系统核心元件之一的12位ADC。该ADC能够对每个视频帧多达63个事件进行自动采样。
高级系统状态监控电路可实时观察显示子系统操作情况。这些条件包括两个处理器看门狗电路、两个裸片温度监控器和用于过压和欠压检测的综合电源监控。其他条件包括校验和密码寄存器保护,SPI总线事务和其他内置测试功能上具有字节级别奇偶校验。
特性
- 符合汽车应用标准
- 下列性能符合AEC-Q100标准:
- 环境工作温度范围:–40°C至105°C(温度等级2)
- 器件人体模型 (HBM) 静电放电 (ESD) 分类等级2
- 器件充电器件模型 (CDM) ESD分类等级C4B
- 汽车系统管理器件,用于DLP®产品
- 高级电源监控、排序和保护电路
- 两个裸片温度监控器、MCU外部看门狗定时器、时钟频率监控器
- SPI端口,具有奇偶校验、校验和以及密码寄存器保护功能
- 第二个SPI端口,用于独立系统监控
- 片上DMD镜像稳压器
- 生成+16V、+8.5V和–10V DMD控制电压
- 12位ADC,每帧多达63个时间序列样本
应用
- 汽车高级照明应用(高分辨率前灯)
- 自适应光束调整 (ADB)
功能框图
发布日期: 2021-03-04
| 更新日期: 2025-02-27

