特性
- 通过了汽车应用类AEC-Q100认证,温度等级1:–40°C至+125°C (TA)
- 单声道BTL数字功率放大器
- 输出功率:8W(10% THD+N,输入4Ω负载时)
- 工作电压范围:4.5V至18V
- 效率:83%(输入4Ω时)
- 差分模拟输入
- 电源保护(可调电压限制器)
- 75dB电源抑制比 (PSRR)
- 负载诊断功能
- 开路和短路输出负载
- 输出至功率和输出至接地短路
- 保护和监测功能
- 短路保护
- 40 V负载突降保护,符合ISO-7637-2标准
- 输出直流电平检测
- 过温保护
- 过压和欠压保护
- 散热增强型16引脚HTSSOP (PWP) 封装,采用PowerPAD™封装(焊盘朝下)
- 专为满足汽车EMC要求而设计
- 通过ISO9000:2002 TS16949认证
- 待机40 V负载突降保护
- 待机非阻断I2C
应用
- 基于解析器的汽车和工业应用
- HEV/EV逆变器和电机控制
- 电动助力转向系统 (EPS)
- 后视镜模块
- 汽车电子后视镜
- 伺服驱动器功率极模块
- 飞行控制系统
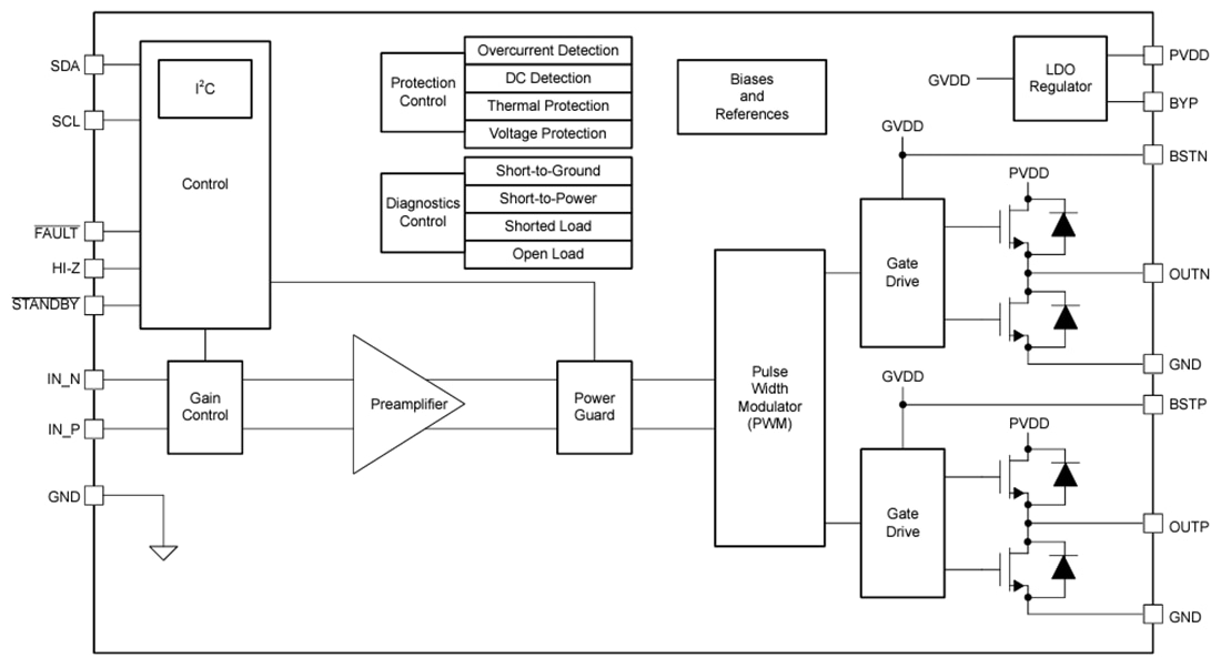
功能框图
发布日期: 2024-10-30
| 更新日期: 2025-05-09

