当输出使能(OE)输入为低电平时,所有输出均将置于高阻抗状态。TXS0104V/TXS0104V-Q1设计使OE输入电路由VCCA 供电。对于上电或断电期间的高阻抗状态,通过下拉电阻器将OE接地;驱动器的电流源能力决定电阻器的最小值。TXS0104V-Q1器件符合汽车应用类AEC-Q100认证。
特性
- 无需定向控制信号
- 最大数据传输速率
- 24 Mbps(推挽式)
- 2 Mbps(开漏)
- A端口上为1.65V至3.6V,B端口上为2.3V至5.5V(VCCA ≤ VCCB)
- 无需电源排序(VCCA 或VCCB 可以先进行斜坡)
- 锁存性能超过100mA,符合JESD 78 II类标准
- 静电放电保护超越 JESD 22 标准
- A端口
- 2000 V人体模型 (A114-B)
- 500 V 充电器件模型(C101)
- B端口
- 5000 V人体模型 (A114-B)
- 500 V 充电器件模型(C101)
- A端口
应用
- 手持设备
- 智能手机
- 平板电脑
- 台式电脑
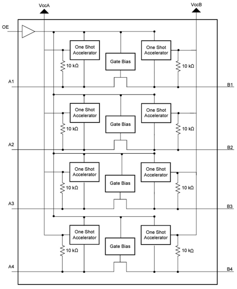
功能框图
发布日期: 2024-11-07
| 更新日期: 2025-05-09

