Texas Instruments UCC21717-Q1具有先进的保护特性,例如快速过流和短路检测、分流电流检测支持、故障报告、有源米勒钳位以及输入和输出侧电源UVLO,以优化SiC和IGBT的开关特性和稳健性。隔离式模拟转PWM传感器可用于简化温度或电压检测,提高驱动器的多功能性,并简化系统设计工作、减小尺寸和降低成本。
特性
- 5.7kVRMS 单通道隔离式栅极驱动器
- 符合汽车应用类AEC-Q100标准
- 器件温度0级(-40°C至+150°C环境工作温度范围)
- 器件人体模型 (HBM) 静电放电 (ESD) 分类等级3A
- 器件充电器件模型 (CDM) ESD分类等级C6
- 功能安全质量管理型
- 可提供帮助进行功能安全系统设计的文档
- 高达2121Vpk 的SiC MOSFET和IGBT
- 最大输出驱动电压(VDD-VEE):33V
- ±10A驱动强度和分割输出
- 最低CMTI:150V/ns
- 270ns响应时间快速过流保护
- 4A内部有源米勒钳位
- 故障条件下400mA软关断
- 具有PWM输出的隔离式模拟传感器,用于:
- 使用NTC、PTC或热敏二极管进行温度检测
- 高压直流链路或相位电压
- 过流报警FLT和RST/EN复位
- 使用RST/EN禁用器件触发软关断
- 抑制输入引脚上 < 40ns的瞬态噪声和脉冲
- RDY上的12V VDD UVLO(具有电源正常指示功能)
- 输入/输出可耐受高达5 V的过冲/欠冲瞬态电压
- 130 ns(最大值)传播延迟和30 ns(最大值)脉冲/零件偏移
- SOIC-16 DW封装,爬电距离和间隙>8mm
- 工作结温范围:–40°C至150°C
应用
- 电动汽车牵引逆变器
- 车载充电器和充电桩
- HEV/EV用直流/直流转换器
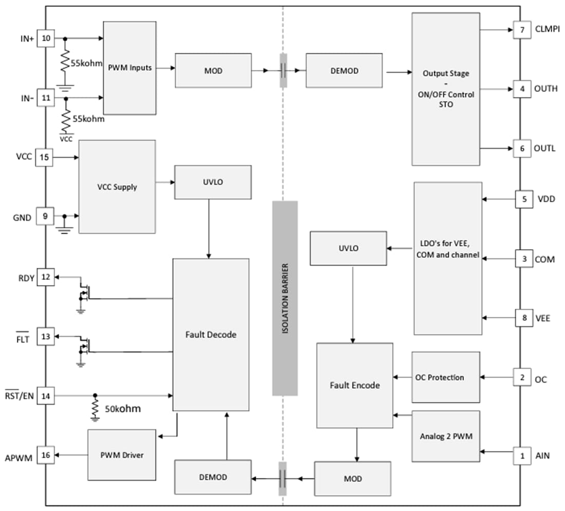
功能框图
发布日期: 2023-08-28
| 更新日期: 2025-03-06

