Texas Instruments UCC21756-Q1具有先进的保护特性,例如快速过流和短路检测、故障报告以及有源米勒钳位。它还提供输入和输出侧电源UVLO,以优化SiC和IGBT的开关特性和稳健性。可以利用隔离式模拟PWM传感器更轻松地进行温度或电压检测,从而提高驱动器的多功能性,并简化系统设计工作,降低尺寸和成本。
特性
- 5.7kVRMS 单通道隔离式栅极驱动器
- 下列性能符合AEC-Q100标准
- 环境工作温度范围:-40°C至+150°C(器件温度0级)
- 器件人体模型 (HBM) 静电放电 (ESD) 分类等级3A
- 器件充电器件模型 (CDM) ESD分类等级C6
- 功能安全质量管理型
- 可提供帮助进行功能安全系统设计的文档
- 高达2121Vpk的SiC MOSFET和 IGBT
- 33V最大输出驱动电压(VDD-VEE)
- ±10A驱动强度和分离输出
- 最低CMTI:150V/ns
- 200ns响应时间快速DESAT保护,5V阈值
- 4A内部有源米勒钳位
- 发生故障时软关断:900mA
- 具有PWM输出的隔离式模拟传感器,用于:
- 使用NTC、PTC或热敏二极管进行温度检测
- 高压直流链路或相位电压
- 过流报警FLT和RST/EN复位
- RST/EN上的快速启用/禁用响应
- 抑制输入引脚上的<40ns噪声瞬态和脉冲
- 12VVDD UVLO, RDY上电源正常
- 具有高达5V过冲/欠冲瞬态电压抗扰度的输入/输出
- 130ns(最大值)传播延迟和30ns(最大值)脉冲/零件偏移
- SOIC-16 DW封装,爬电距离和间隙>8mm
- 工作结温范围:–40°C至150 °C
应用
- 电动汽车牵引逆变器
- 车载充电器和充电桩
- HEV/EV用直流/直流转换器
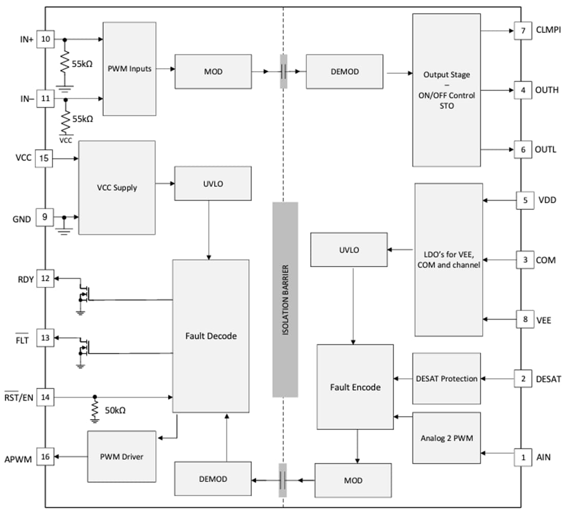
功能框图
其他资源
发布日期: 2023-05-05
| 更新日期: 2025-03-06

