Texas Instruments CC430F613x, CC430F612x, CC430F513x MSP430 SoCs
Texas Instruments CC430F613x, CC430F612x, CC430F513x MSP430 SoCs with RF Core combines the excellent performance of the state-of-the-art CC1101 sub-1GHz RF transceiver with the MSP430™ CPUXV2 16-bit RISC CPU. The device features the powerful MSP430 16-bit RISC CPU, 16-bit registers, and constant generators that contribute to maximum code efficiency. The CC430 family provides tight integration between the microcontroller core, its peripherals, software, and the RF transceiver, making these system-on-chip solutions easy to use as well as improving performance. The TI CC430F613x, CC430F612x, CC430F513x SoC with RF core features five low-power modes and is optimized to achieve extended battery life in portable measurement applications. The Texas Instruments CC430F613x, CC430F612x, CC430F513x features up to 32kB in-system programmable flash memory, up to 4kB of RAM, two 16-bit timers, a high-performance 12-bit ADC with six external inputs, and more. Typical applications for this TI SoC with RF core include wireless analog and digital sensor systems, heat cost allocators, thermostats, metering (AMR/AMI), and smart grid wireless networks.Features
- True System-on-Chip (SoC) for Low-Power Wireless Communication Applications
- 1.8V to 3.6V Wide Supply Voltage Range
- Ultralow Power Consumption
- 160µA/MHz CPU Active Mode (AM)
- 2.0µA Standby Mode (LPM3 RTC Mode)
- MSP430™ System and Peripherals
- 16-Bit RISC Architecture, Extended Memory, up to 20MHz System Clock
Applications
- Wireless analog and digital sensor systems
- Consumer/personal networking
- Industrial remote monitoring
- Portable medical
- Asset tracking
- Energy harvesting
- Automatic Metering Infrastructure (AMI)
- Alarm and security systems
- Thermostats
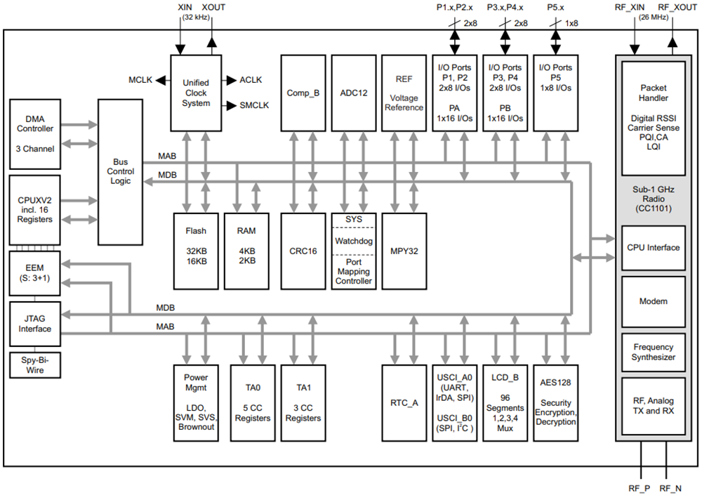
CC430F613x Block Diagram
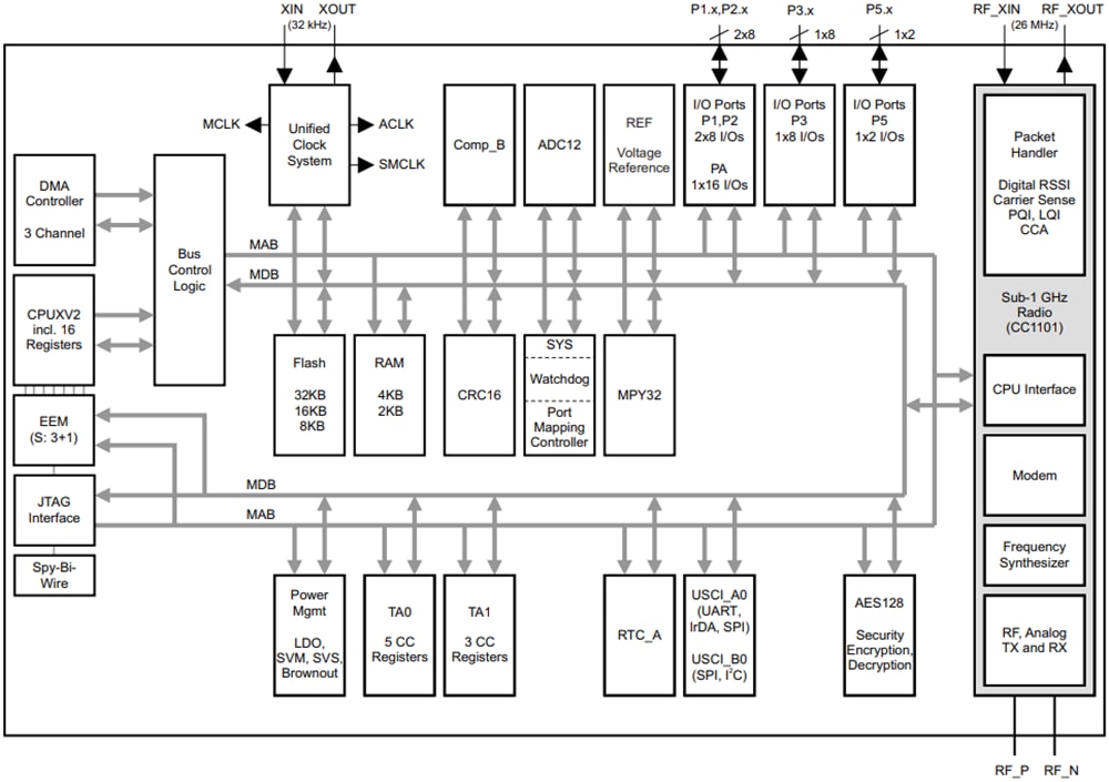
CC430F612x Block Diagram
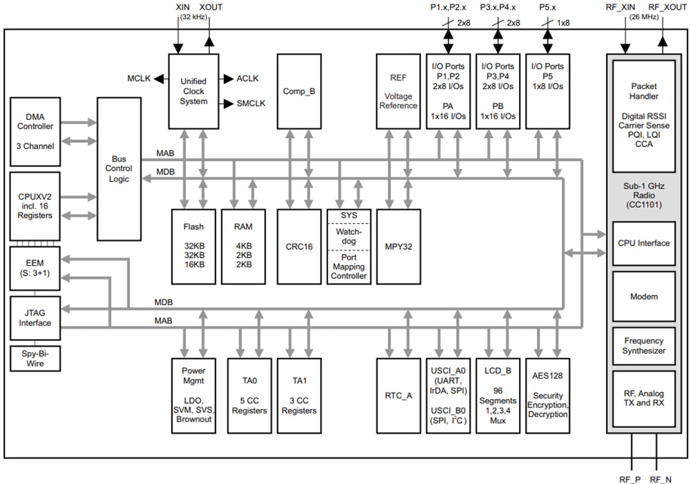
CC430F513x Block Diagram
发布日期: 2010-05-20
| 更新日期: 2022-03-11
