Vishay 2Wx单相桥式整流器

Vishay 2Wx单相桥式整流器具有高浪涌电流能力和高外壳介电强度。这些整流器具有<0.5μA(典型值)IR 、60A峰值正向浪涌电流单半正弦波叠加在额定负载上,工作温度范围为-55°C至+150°C。2Wx桥式整流器符合UL 94 V-0可燃性等级,采用WOG封装。这些桥式整流器符合RoHS指令,可焊接,符合J-STD-002和JESD22-B102标准。2Wx单相桥式整流器非常适用于印刷电路板、适配器、电源、充电器、消费类照明镇流器和家用电器。

特性

  • UL认证,文件编号:E54214
  • 非常适用于印刷电路板
  • 典型IR 小于0.5μA
  • 高外壳介电强度
  • 较高的浪涌电流承受能力
  • 浸焊:260°C、40s

应用

  • 印刷电路板
  • 电源
  • 适配器
  • 充电器
  • 消费类照明镇流器
  • 家用电器

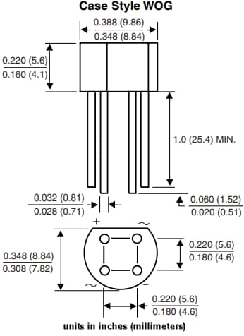
尺寸图

机械图纸 - Vishay 2Wx单相桥式整流器
发布日期: 2025-02-05 | 更新日期: 2025-03-18