AP53782旨在通过I2C(SCL、SDA)及中断引脚,与外部MCU配合使用,可实现对电源角色的精确控制。通过I2C命令,主机MCU可将该器件配置为受电端,从符合PD3.1标准的供电端请求特定RDO(请求数据对象);或将其配置为供电端,向配备Type-C连接器的设备提供电源数据对象 (PDO) 。
AP53782支持QC2.0/3.0协议,支持电量耗尽电池模式,并在电源协商期间为外部DC/DC控制器提供VFB反馈。该控制器集成了Rp/Rd端接电阻器和DRP控制开关,工作电压范围为3.6V至28V,采用低侧电流检测拓扑结构。关断功耗低至50µA,满足电池供电设备的需求。
AP53782采用高压工艺制造,具有先进的保护功能,例如CC引脚和DP/DN引脚可耐受的短路故障电压分别高达34V和24V。智能FirmWare提供了全面的安全机制,包括过电压保护 (OVP)、欠电压保护 (UVP)、过电流保护 (OCP),以及针对USB连接器的湿度检测功能。其他功能包括VBUS nMOS开关的双栅极驱动器、VBUS/VOUT放电路径,以及故障状态后的自动重启。
AP53782符合USB PD3.1 v1.8(TID:11689)标准,完全符合RoHS标准,不含卤素,是现代USB Type-C电源传输应用的可靠环保解决方案。
特性
- USB PD3.1 v1.8认证,TID:11689
- 支持自主DRP控制
- 支持高达28V的EPR/AVS,电压步进为为100mV
- 支持高达21V的SPR,电压步进为20mV和50mA
- 关断功耗低至50µA
- 支持状态寄存器,用于系统监控和控制
- 支持用于PDO和RDO选择的I2C命令
- 支持用于外部MCU的I2C命令,实现监控和控制
- 支持QC2.0/3.0受电端/供电端控制
- 支持用于VBUS nMOS开关的双栅极驱动器
- 支持通过DAC为外部DC/DC提供VFB反馈
- 工作电压范围为3.6V至28V,具有低侧电流检测功能
- 支持VBUS和VOUT放电路径
- 支持电池电量耗尽模式
- 支持OVP/UVP/OCP,并具备自动重启功能
- 支持USB连接器的湿度检测
- CC1/CC2引脚可耐受高达34V的VBUS短路故障电压,DP/DN引脚的短路耐受电压可达24V
- 表面贴装WQFN-24封装
- 完全无铅,符合RoHS标准
- 无卤素/无锑,绿色设备
应用
- 移动电源
- 电动工具
- 无线扬声器
- 电动自行车
- 销售点终端
- 便携式显示器
规范
- 电源电压范围:3.6V至28V
- 工作电源电流:2.5mA
- 工作电源电压:3V
- 热性能
- 结至环境热阻:29.6°C/W
- 结至壳顶热阻:20.6°C/W
- 结至板热阻:11.2°C/W
- 结至顶部表征参数:0.4°C/W
- 结至顶部表征参数:11.4°C/W
- 结至壳底热阻:6.0°C/W
- ESD 额定值
- 2 kV最大人体模式(HBM)
- 最大充电设备模型(CDM)为750 V
- 环境工作温度范围:-40 °C至+85 °C
- 工作结温范围:-40 °C至+125 °C
- 焊接引线温度最高可达+300°C,持续时间为10s
开发工具
典型应用电路
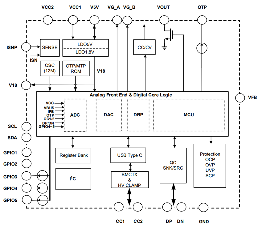
功能框图
发布日期: 2025-11-26
| 更新日期: 2026-01-26

