Microchip Technology dsPIC33CK 16位数字信号控制器
Microchip Technology dsPIC33CK 16位数字信号控制器 (DSC) 设计用于将MCU的控制属性与DSP的计算能力集成在单一内核中。这些dsPIC33CK DSC具有16位CPU、高分辨率PWM、CAN灵活数据 (CAN FD)、内部振荡器、低功耗管理模式、高速ADC模块以及调试器开发支持。16位CPU采用改进的哈佛架构,具有 增强的指令集并支持数字信号处理 (DSP)。dsPIC33CK DSC设有内部闪存程序存储器,该存储器在正常工作期间(在整个VDD范围内)具有可读、可写和可擦除特性。该闪存存储器可存储并执行应用程序代码。dsPIC33CK DSC具有片上锁相环 (PLL),可提高选定内部/外部振荡器源的内部工作频率。 辅助PLL (APLL) 时钟发生器可提高外设的工作频率,借助故障安全时钟监控 (FSCM) 特性,可检测时钟故障并可实现安全的应用恢复/关闭。 dsPIC33CK DSC实现了两个正交编码器接口 (QEI) 模块实例,从而连接增量编码器以获取机械位置数据。QEI模块可对交流感应电机 (ACIM) 和开关磁阻 (SR) 等电机控制设备进行闭环控制。
特性
- 16位dsPIC33CK CPU
- 时钟管理:
- 内部振荡器
- 可编程 PLL 和振荡器时钟源
- 参考时钟输出
- 故障安全时钟监控器 (FSCM)
- 备用内部振荡器
- 低功耗管理模式
- 高速PWM:
- 8个PWM对
- 上升和下降沿死区时间
- 死区时间补偿
- 用于高频工作的时钟斩波
- 用于ADC触发的灵活触发配置
- 一个通用定时器
- 高速ADC模块:
- 多达24个输入通道
- 用于每个模拟通道的专用结果缓冲器
- 灵活和独立的ADC触发器源
- 四个数字比较器
- 四个用于提高分辨率的过采样滤波器
- 多达三个运算放大器
- 四个直接存储器存取 (DMA) 通道
- 通信接口:
- 三个4线SPI/I2S模块
- CAN灵活数据 (FD) 模块
- 三个支持SMBus的I2C模块
- 可编程循环冗余校验 (CRC)
- 并行主端口 (PMP)
- 调试器开发支持:
- 电路内和应用内编程和调试
- 三个复杂及五个简单断点
- 跟踪缓冲器和运行时监视
- 带备用振荡器的时钟监视系统
- Deadman定时器 (DMT)
- 纠错码 (ECC)
- 看门狗定时器 (WDT)
- CodeGuard™安全装置
- ICSP™写禁止
- RAM内存内置自检 (MBIST)
视频
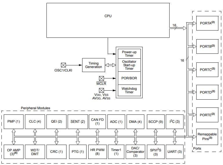
dsPIC33CK 16位DSC框图
Additional Resources
发布日期: 2018-06-20
| 更新日期: 2023-10-09
