NXP Semiconductors MC33HB2000电源IC和驱动器
NXP Semiconductors MC33HB2000电源IC和驱动器是SMARTMOS单片半桥IC,通过SPI配置和诊断功能增强。这些电源IC可以控制峰值电流大于10A的电感负载,标称连续平均负载电流为3A。NXP MC33HB2000 IC设计用于满足ISO26262安全要求,满足汽车应用的严格要求,并符合AEC-Q100标准。这些电源IC通过误差小于5%的电流镜输出信号提供高精度的实时电流反馈。MC33HB2000 IC的工作电压范围为5V至28V。这些电源IC非常适合用于电子节气门控制、废气再循环控制 (EGR)、电动泵、涡轮和废物挡板控制。特性
- 通过串行外设接口提供高级诊断报告:
- 电荷泵欠压、过压和VPWR上欠压
- 接地短路和VPWR短路(每路输出)
- 开路负载、温度警告和过热关断
- SOIC、PQFN和HVQFN封装尺寸
- 在全半桥或半桥配置中驱动电感负载
- 过压保护将负载置于高侧再循环模式,在半桥模式下通知
- 符合AEC-Q100 1级标准
应用
- 电子节气门控制
- 废气再循环 (EGR) 控制
- 涡轮、漩涡和旋转以及废物挡板控制
- 电动泵、电机控制和配件
规范
- 工作电压范围:5 V至28 V
- 转换率:2V/μs(默认值)
- 阈值电流限制:7 A
- 误差:>5%
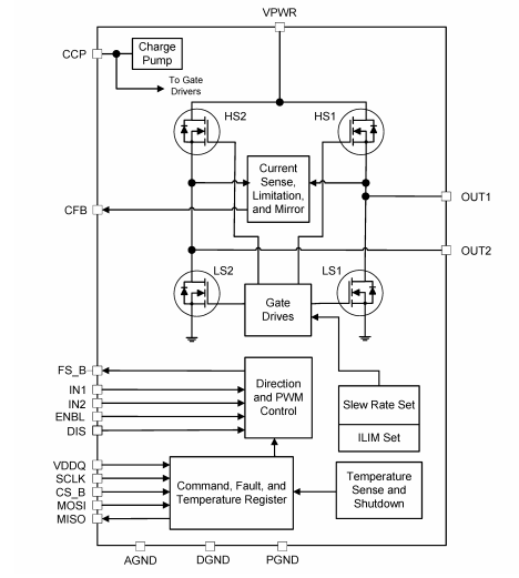
框图
功能框图
工作模式状态图
工作模式
• 睡眠模式 - MC33HB2000功能被禁用。电流消耗不超过睡眠状态电流规格。•
• 待机模式 - MC33HB2000逻辑完全运行,输出处于高阻抗状态。
• 正常模式 - MC33HB2000功能完全正常。任何检测到故障将器件转换为故障模式。
故障模式:某些功能强制关闭,FS_B信号锁存到指示故障的逻辑 [0]
发布日期: 2020-06-09
| 更新日期: 2024-10-17
