NXP Semiconductors MC33HB2002 IC和驱动器
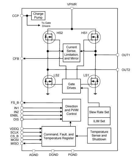
NXP Semiconductors MC33HB2002 IC和驱动器是SMARTMOS单片半桥IC,通过SPI配置和诊断功能增强。这些电源IC能够控制峰值电流大于10A的电感负载,标称连续平均负载电流为3A。MC33HB2002 IC设计用于满足ISO26262安全要求,符合汽车应用的严格要求,并符合AEC-Q100标准。这些电源IC通过误差小于5%的电流镜输出信号提供高精度的实时电流反馈。MC33HB2002 IC的工作电压范围为5V至28V。这些电源IC非常适合用于电子节气门控制、废气再循环控制 (EGR)、电动泵、涡轮和废物挡板控制。特性
- 通过串行外设接口提供高级诊断报告:
- 电荷泵欠压、过压和VPWR上欠压
- 接地短路和VPWR短路(每路输出)
- 开路负载、温度警告和过热关断
- 三种封装尺寸:SOIC、PQFN和HVQFN
- 在全半桥或半桥配置中驱动电感负载
- 过压保护将负载置于高侧再循环模式,在半桥模式下通知
- 符合AEC-Q100 1级标准
The MC33HB2002 operates in the following modes:
• Sleep mode:
MC33HB2002 functions are disabled. The current consumption does not exceed the sleep-state current specification.
• Standby mode
MC33HB2002 logic is fully operational with the outputs in a high-impedance state.
• Normal mode:
MC33HB2002 functions are fully operational. Any detected faults transition the device to Fault mode.
• Fault mode:
Certain functions are forced off and the FS_B signal is latched to logic [0] indicating a fault
发布日期: 2020-06-09
| 更新日期: 2022-03-11
