L99LDLH32驱动器集成了符合CAN FD Light规范的稳健纯汽车通信接口,可实现高数据传输速率(高达1Mbit/s),采用CAN FD结构实现长帧。除了符合CAN FD Light规范的物理层外,该器件还集成了协议处理程序,因此无需额外的外部设备来促进与Commander ECU之间的通信。L99LDLH32可使用CAN FD Light兼容接口在总线模式下工作,也可使用内部几次可编程 (FTP) 存储器寄存器在独立/故障安全模式下工作。
STMicroelectronics L99LDLH32 32通道LED驱动器采用QFN48L封装,具有裸露焊盘,可提高散热性能。该器件符合AEC-Q100标准,可用于汽车应用。
特性
- 符合AEC-Q100标准
- 有关CAN FD Light兼容串行接口、协议处理程序、规范建议草案 (DSP),可从CAN in Automation (CiA)获得
- 集成高精度振荡器,无需外部石英
- 带Limp Home的超时看门狗
- 低待机电流
- 可在独立、故障安全和总线模式下工作
- 直接驱动(1个直接输入),用于支持ASIL要求的1个功能组
- 通过嵌入式非易失性和易失性内存实现最广泛的可配置性
- 工作电源电压范围:5.5V至40.0V
- 32个恒流输出通道,高边配置
- 输出电流:1mA至15mA,可并联输出
- 输出电压高达35V
- 通过8位DAC实现每通道电流设置
- 反馈电压至外部前置稳压器,优化调节电压,最大限度地降低整体功耗
- 模拟调光、8位PWM通道独立指数亮度控制和8位全局PWM调光
- 可编程PWM频率
- 慢速开启/关闭时间,逐步输出延迟和抖动时钟,以实现更卓越的EMC性能
- 集成8位ADC,实现全面灵活的诊断
- 用于故障总线的专用线路
- 温度警告(1个阈值)
- 过热关断
- 短路和开路负载检测与保护
- 根据外部NTC测量和设备结温(TJ)实现自动 LED电流降额
- 工作温度范围:-40 °C至+150 °C
- 带裸露焊盘的7.0mm x 7.0mm QFN48L封装
应用
- 汽车OLED尾灯
- 汽车环境照明
视频
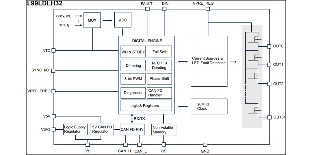
框图
典型应用电路
发布日期: 2022-08-01
| 更新日期: 2024-08-05

