STMicroelectronics ST1VAFE3BX生物传感器(带vAFE)
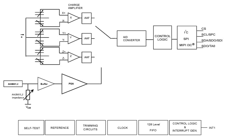
STMicroelectronics ST1VAFE3BX生物传感器具有垂直模拟前端 (vAFE),可检测生物电势信号,并设有跟踪运动的高性能3轴数字加速度计。 STMicroelectronics ST1VAFE3BX设计为紧凑、低噪声、低功耗,具有可配置的输入阻抗。 vAFE能够读取与运动数据互补的模拟信号,通过信号同步实现低延迟、情景感知的边缘分析。电压反馈和加速度计易于集成,可独立处理MEMS传感器中的数据,从微控制器卸载任务。高级特性包括有限状态机 (FSM)、自适应自配置 (ASC),以及用于信号处理和导出AI滤波器的机器学习内核 (MLC)。特性
- 双通道,用于生物电势信号检测和运动跟踪
- 电源电压范围:1.62V至3.6V
- 独立IO电源(1.62V至3.6V),用于I2C和SPI接口
- 独立IO电源(扩展范围:1.08V至3.6V),用于MIPII3C® 接口
- 超低电源电流:50µA(典型值),关断电流为2.2µA
- 生物电势信号检测通道,带模拟集线器
- 单通道差分输入放大器 (vAFE)
- 可编程增益和输入阻抗
- 12位ADC分辨率
- 仅使用模拟集线器/vAFE通道时,ODR高达3200Hz
- 加速度计通道
- 低噪声:低至220µg/√Hz
- 可编程满量程:±2g/±4g/±8g/±16g
- ODR:1.6 Hz至800 Hz
- 嵌入式机器学习内核,用于高达1.6kHz模拟集线器/vAFE数据
- 可编程有限状态机,用于高达1.6kHz模拟集线器/vAFE数据
- 基于传感器处理输出(FSM/MLC)的自适应自配置(ASC)
- 嵌入式FIFO,多达128个加速度计和模拟集线器/vAFE数据样本,或256个低分辨率加速度计数据样本
- 高速I2C/SPI/MIPII3C数字输出接口
- 高级计步器、步进检测器和步进计数器
- 自检
- 2.0mm x 2.0mm x 0.74mm (最大值),LGA 12引脚封装
- 高冲击生存率:10000 g
- 符合ECOPACK和RoHS指令
应用
- 生物电势信号检测(ENG、ECG、EEG)
- 可穿戴和便携式设备
- 活动跟踪和健康
视频
框图
发布日期: 2024-09-06
| 更新日期: 2025-05-08
