特性
- 高级负载诊断
- 无需输入时钟即可进行直流诊断
- 交流诊断可进行高频扬声器检测,提供阻抗和相位响应
- 轻松满足CISPR25-L5 EMC规范
- 符合汽车应用类AEC-Q100标准
- 温度等级:–40°C至+125°C
- 音频输入
- I2S或4/8通道TDM输入
- 输入采样率:44.1kHz、48kHz、96kHz
- 输入格式:16位至32位I2S和TDM
- 音频输出
- 单通道桥接负载 (BTL)
- 高达2.1MHz输出开关频率
- 在4Ω负载、14.4V电源电压和10% THD条件下,输出功率为27W BTL
- 在2Ω负载、14.4V电源电压和10% THD条件下,输出功率为45W BTL
- 在4Ω负载和14.4V电源电压条件下的音频性能
- THD+N < 0.02% (1W)
- 42µVRMS输出噪声
- –90dB串扰
- 通过独立于主机的操作进行负载诊断
- 输出开路和短路负载
- 输出至电池或接地短路
- 线路输出检测高达6kΩ
- 保护
- 输出电流限制和短路保护
- 40V负载突降
- 开路接地和电源容差
- 过热警告和关断
- 欠压和过压、直流偏移
- 普通运行
- 电源电压:4.5V至26.4V
- 具有4个地址选项的I2C控制
- 削波检测(锁存或非锁存)
应用
- 汽车音响主机和外部放大器
- eCall(紧急呼叫)
- 虚拟引擎音响系统 (VESS)
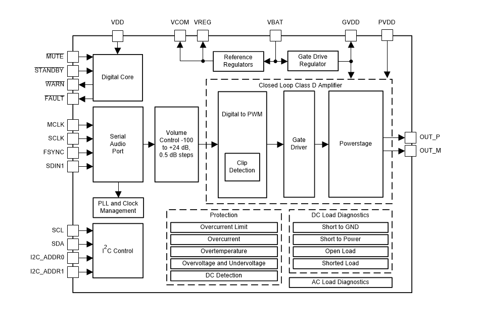
框图
发布日期: 2019-11-26
| 更新日期: 2025-03-05

