TAS6424M-Q1具有内置负载诊断功能,用于检测和诊断误接的输出, 以及检测交流耦合的高频扬声器,以帮助缩短制造过程中的测试时间。该器件提供四个通道,在14.4V电源电压条件下,能够以10% THD+N为4Ω负载提供27W功率,以及以10% THD+N为2Ω负载提供45W功率。
TAS6424M-Q1 D类音频放大器非常适合用于汽车音响主机和外部放大器模块。TAS6424M-Q1器件符合汽车应用类AEC-Q100标准。TAS6421-Q1、TAS6422-Q1、TAS6424L-Q1和TAS6424-Q1提供单通道、双通道和四通道引脚兼容选项。
特性
- 高级负载诊断
- 无需输入时钟即可进行直流诊断
- 交流诊断可进行高频扬声器检测,提供阻抗和相位响应
- 轻松满足CISPR25-L5 EMC规范
- 音频输入
- 4通道I2S或4/8通道TDM输入
- 输入采样率:44.1kHz、48kHz、96kHz
- 输入格式:16位至32位I2S和TDM
- 音频输出
- 四通道桥接层负载 (BTL)
- 双通道并联BTL (PBTL)
- 高达2.1 MHz输出开关频率
- 在4Ω负载、14.4V电源电压和10% THD条件下,输出功率为27W BTL
- 在2Ω负载、14.4V电源电压和10% THD条件下,输出功率为45W BTL
- 在2Ω负载、18V电源电压和10% THD条件下,输出功率为80W PBTL
- 在4Ω负载和14.4V电源电压条件下的音频性能BTL
- 输出功率为1W时,THD+N <0.02%
- 42µVRMS输出噪声
- –90dB串扰
- 符合汽车应用类AEC-Q100标准
- 器件温度等级1:-40°C至+125°C TA
- 负载诊断
- 输出开路和短路负载
- 输出至电池或接地短路
- 线路输出检测高达6kΩ
- 主机独立操作
- 保护
- 输出电流限制
- 输出短路保护
- 40V负载突降
- 开路接地和电源容差
- 直流失调
- 过热
- 欠压和过压
- 普通运行
- 电源电压:4.5V至18V
- I2C控制,有4个地址选项
- 夹紧检测和过热警告
应用
- 汽车音响主机
- 汽车外部放大器
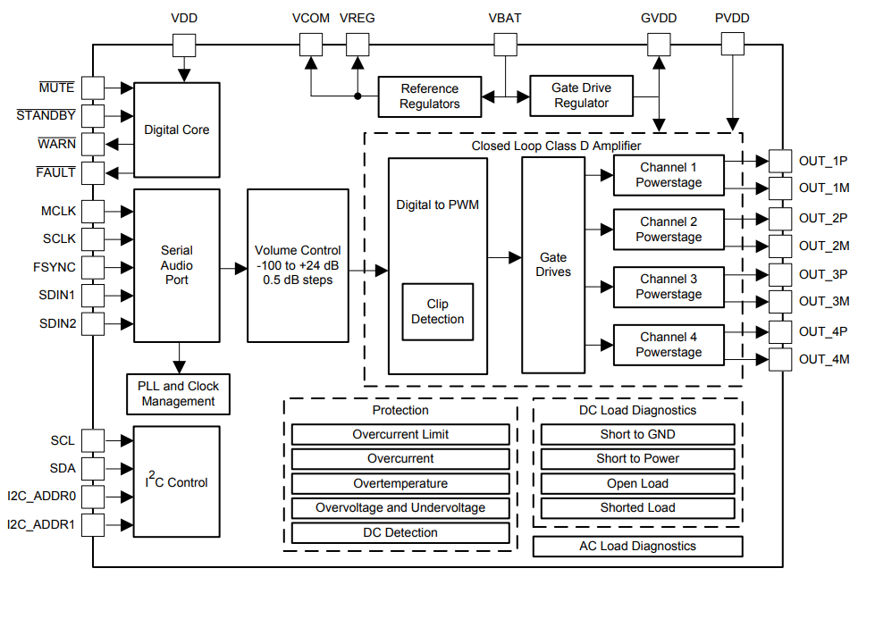
框图
发布日期: 2019-04-24
| 更新日期: 2025-03-06

