Texas Instruments TMP1827数字温度传感器
Texas Instruments TMP1827数字温度传感器是一款高精度、1-Wire兼容数字输出温度传感器 与集成2Kb EEprom。该器件还包括SHA-256-HMAC身份验证方案,具有–55°C至+150°C的宽工作温度范围。TMP1827在+10°C至+45°C温度范围内提供高达高达±0.1°C(典型值)/±0.2°C(最大值)的精度。每个器件均具有工厂编程的64位唯一识别码,用于寻址和NIST可追溯性。Texas Instruments TMP1827支持标准速度,用于传统应用和过驱动模式,数据速率为90kbps,可在1.7V至5.5V宽电压范围内实现低延迟通信。在最简单的工作模式下,TMP1827 1-Wire接口的数据引脚上集成有8kV IEC-61000-4-2 ESD保护,在总线供电模式下,只需简单的连接和一个接地回线,通过减少电线的数量和外部保护组件来简化和降低成本。VDD电源引脚还可用于可能需要专用电源的应用。
特性
- 1-Wire 接口 具有多分流共享 总线 和循环 冗余 检查(CRC)。
- 总线供电工作电压:1.7V至5.5V
- IEC 61000-4-2 ESD(8kV接触放电)
- 支持功能安全
- 来辅助功能安全系统设计的文档
- 高精度数字温度传感器
- TMP1827
- ±0.2°C (最大)从 +10°C 到 +45°C
- ±0.3°C (最大)从-40℃到 +105°C
- ±0.4°C (最大)从-55℃到 +150°C
- TMP1827N
- ±0.9°C (最大)从-55℃到 +150°C
- TMP1827
- 94µA温度测量电流
- 1.3µA 关断电流
- 7.8125m°C (1LSB) 16位温度分辨率
- 超速速度下的快速数据速率为90kbps
- 灵活的用户可编程短地址模式,用于更快的器件寻址
- SHA-256-HMAC认证方案
- FIPS 180-4 兼容的安全哈希实现
- FIPS 198-1 compliant HMAC Implementation
- 2Kb EEPROM功能
- 以64位块大小进行写入操作
- 连续读取模式
- 256位页面大小读取与写入保护
- 256位页面大小的经过身份验证的写保护模式
- 编程电流:178µA
- 用于器件寻址的NIST可追溯出厂编程不可擦除64位标识号
- 四个可配置的开漏数字输入输出和温度警报
应用
- 工厂自动化和控制
- 家电
- 医疗配件
- CPAP机器
- 电池充电器IC
- 电动汽车充电基础设施
- LED照明
- 温度变送器
- 冷链
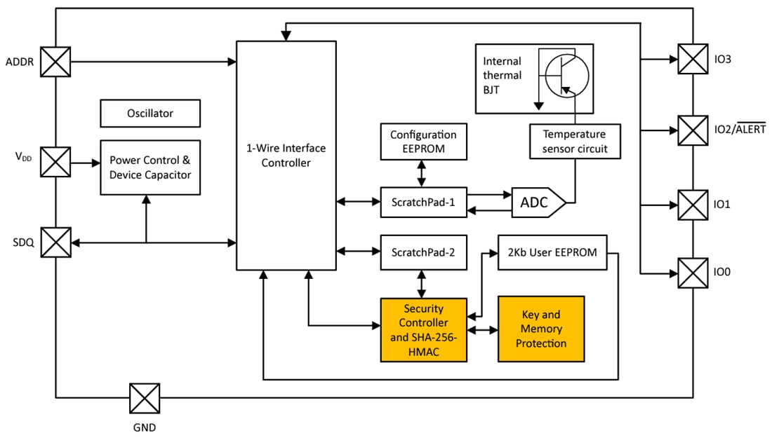
功能框图
其他资源
发布日期: 2023-06-21
| 更新日期: 2023-10-30
