Texas Instruments TPS2410/11 N+1 and ORing Power Rail Controllers
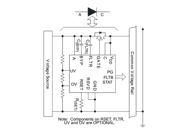
Texas Instruments TPS2410/11 N+1 and ORing Power Rail Controllers emulate the function of a low forward-voltage diode in conjunction with an external N-channel MOSFET. The device combines multiple power supplies to a common bus in an N+1 configuration or combines redundant input power buses. The TPS2410 delivers a linear turn-on control while the TPS2411 offers an on/off control method. Applications with either N+1 redundant power supplies, redundant power buses, or both are ideal for the TPS2410/11. These redundant power sources must have the equivalent of a diode OR to prevent reverse current during faults and hotplug. This function is achieved with less power loss than a Schottky diode by combining the Texas Instruments TPS2410/11 and an N-channel MOSFET. A wide range of implementations and bus characteristics are customized through accurate voltage sensing, programmable fast turn-off threshold, and input filtering.Features
- Control External FET for N+1 and ORing
- Wide Supply Voltage Range of 3V to 16.5V
- Controls Buses From 0.8V to 16.5V
- Linear or On/Off Control Method
- Internal Charge Pump for N-Channel MOSFET
- Rapid Device Turnoff Protects Bus Integrity
- Positive Gate Control on Hot Insertion
- Soft Turn-on Reduces Bus Transients
- Input Voltage Monitoring
- Shorted Gate Monitor
- MOSFET Control-State Indicator
- -40°C to 85°C Industrial Temperature Range
- Industry-Standard 14-Pin TSSOP Package
Applications
- N+1 Power Supplies
- Server Blades
- Telecom Systems
- High Availability Systems
Block Diagram
发布日期: 2008-02-26
| 更新日期: 2022-03-11
