Texas Instruments TPS2411EVM-096评估模块

Texas Instruments TPS2411EVM-096评估模块用于对TPS2411 O-Ring电源轨控制器进行参考电路评估。TPS2411与外部N通道MOSFET配合使用,可模拟低正向电压二极管的功能。PS2411EVM-096评估模块设有一个板载LED,用于指示运行状态和故障状况。

特性

  • 双通道O-Ring控制:0.8V至16.5V
  • 支持标准O-Ring配置和背靠背MOSFET操作,以实现双向阻断
  • 可编程过压截止和欠压
  • 板载LED可指示工作状态和故障状况

布局

Texas Instruments TPS2411EVM-096评估模块

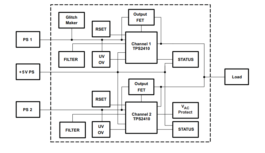
框图

框图 - Texas Instruments TPS2411EVM-096评估模块
发布日期: 2019-10-25 | 更新日期: 2024-01-12