Texas Instruments TPS92830-Q1恒流LED驱动器
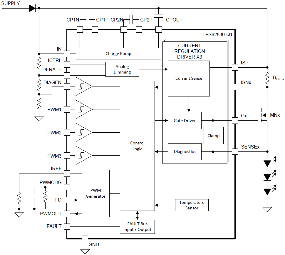
Texas Instruments TPS92830-Q1恒流LED驱动器是一款先进的汽车级高侧恒流线性LED控制器,可使用外部N沟道MOSFET提供大电流。该器件具有汽车应用的全套功能,并与多种N沟道MOSFET兼容。TPS92830-Q1器件的每个通道都通过检测电阻器值独立设置通道电流。内部精密恒流调节回路通过检测电阻器上的电压来检测通道电流,并相应地控制N沟道MOSFET的栅极电压。该器件还集成了用于低压差工作的两级电荷泵。电荷泵电压高到足以支持各种N沟道MOSFET。PWM调光允许多种来源实现灵活性 - 内部PWM发生器、外部PWM输入或电源调光。为汽车应用特别设计的各种诊断和保护功能有助于提高系统的稳健性和易用性。单失效 - 全失效故障总线与TPS92630-Q1、TPS92638-Q1和TPS9261x-Q1系列一起支持TPS92830-Q1运行,以满足各种故障处理要求。Each channel of the TPS92830-Q1 sets the channel current independently by the sense-resistor value. An internal precision constant-current regulation loop senses the channel current by the voltage across the sense resistor and controls the gate voltage of the N-channel MOSFET accordingly. The device integrates a two-stage charge pump for low-dropout operation. The charge-pump voltage is high enough to support various N-channel MOSFETs. PWM dimming allows multiple sources for flexibility—external PWM inputs, internal PWM generators, or power supply dimming. Various protection and diagnostics features are specially designed for automotive applications to help improve system robustness and ease of use. A one-fails–all-fail fault bus supports the Texas Instruments TPS92830-Q1 operation with the TPS92630-Q1, TPS92638-Q1, and TPS9261x-Q1 family to fulfill various fault-handling requirements.
特性
- 符合AEC-Q100标准
- 器件温度1级:-40°C至+125°C的环境工作温度范围
- 器件人体模型 (HBM) 静电放电 (ESD) 分类等级H2
- 器件充电器件模型 (CDM) ESD分类等级C4B
- 宽输入电压范围:4.5V至40V
- 3通道高侧电流驱动和检测
- 独立于通道的电流设置
- 独立于通道的PWM输入
- 通过PWM输入和电源实现PWM调光
- 针对EMC进行优化的压摆率
- 高精度LED驱动
- 采用外部N沟道MOSFET进行精密电流调节(2.5%容差)
- 20:1模拟调光配置文件,支持非板载分档电阻器
- 带全占空比掩码的精密PWM发生器(2%容差)
- 用于同步的开漏PWM输出
- 保护和诊断
- 可调输出电流降额,实现外部MOSFET热保护
- 诊断LED灯串开路或带自动恢复的短路
- 可启用诊断模式,低电压运行阈值可调
- 故障总线最多15个设备,可配置为单失效全失败或仅失效通道关闭
- 故障模式下的低静态电流(
- 工作结温范围:-40°C至150°C
- TSSOP 28封装 (PW)
应用
- 后灯 - 尾灯和停车灯、后转向指示灯、雾灯、倒车灯
- 前灯 - 位置灯、日间行车灯、前转向指示灯、近光灯
视频
功能框图
