采用SiO2 电容隔离技术实现输入侧与输出侧隔离。该特性支持高达1.5kVRMS 的工作电压和12.8 kVPK 的浪涌抗扰度,以及超过40年的隔离栅使用寿命。它还具有低零件间偏移和大于150V/ns的共模噪声抑制(CMTI)。
Texas Instruments UCC21737-Q1具有先进的保护特性,例如快速过流和短路检测、故障报告和分流检测支持。它还配有源米勒钳位以及输入和输出侧电源UVLO,以优化SiC和IGBT的开关特性和稳健性。ASC功能可用于在系统出现故障时强制打开电源。该特性提高了驱动器的多功能性,有助于简化系统设计,降低尺寸和成本。
特性
- 5.7kVRMS 单通道隔离式栅极驱动器
- 具有符合AEC-Q100标准的下列结果:
- 环境工作温度范围:-40°C至+150°C(器件温度0级)
- 器件人体模型 (HBM) 静电放电 (ESD) 分类等级3A
- 器件充电器件模型(CDM) ESD分类等级C6
- 高达2121Vpk 的SiC MOSFET和IGBT
- 33V最大输出驱动电压(VDD-VEE)
- ±10A驱动强度和分离输出
- 最低CMTI:150V/ns
- 270ns响应时间快速过流保护
- 外部有源米勒钳位
- 发生故障时软关断:900mA
- 隔离侧的ASC输入可在系统出现故障时打开电源开关
- 过流报警FLT和RST/EN复位
- 在RST/EN上快速启用/禁用响应
- 可抑制< 40ns的输入引脚噪声瞬变和脉冲
- 12V VDD UVLO和–3V VEE UVLO,并通过RDY引脚指示电源良好
- 输入/输出可耐受高达5 V的过冲/欠冲瞬态电压
- 130 ns(最大值)传播延迟和30 ns(最大值)脉冲/零件偏移
- SOIC-16 DW封装,爬电距离和间隙>8mm
- 工作结温范围:–40°C至150°C
应用
- 电动汽车牵引逆变器
- 车载充电器和充电桩
- HEV/EV用直流-直流转换器
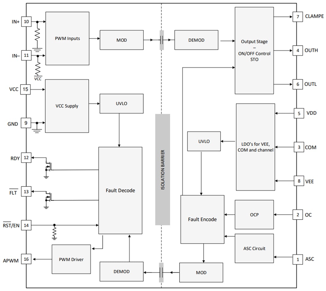
功能框图
发布日期: 2022-10-14
| 更新日期: 2025-03-11

