ROHM Semiconductor LAPIS ML610Q327/ML610Q338/ML610Q339 8位MCU
ROHM Semiconductor LAPIS ML610Q327/ML610Q338/ML610Q339 8位微控制器(MCU)是高性能8位CMOS MCU,集成了多种外设,如定时器、PWM、UART、I2C 总线接口、同步串行端口、逐次逼近型10位A/D转换器和语音输出功能。nX-U8/100 CPU可通过三级流水线架构的并行处理,在每个时钟脉冲执行一条指令的基础上高效执行指令。ROHM Semiconductor LAPIS ML610Q327/ML610Q338/ML610Q339还配备了闪存,实现了与掩膜ROM相当的低电压和低功耗(读取时),因此非常适合报警器和便携式设备等电池驱动型应用。此外,它还具有片上调试功能,可通过安装在电路板上的LSI进行软件调试/改写。特性
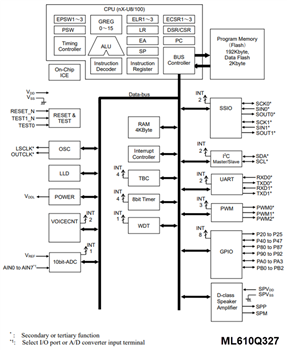
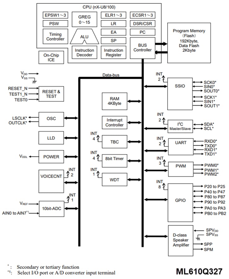
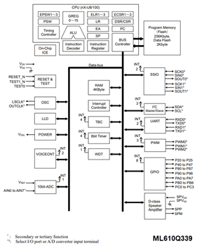
- CPU
- 8位RISC CPU(CPU名称:nX-U8/100)
- 指令系统:16位指令
- 指令集(传输、算术运算、比较、逻辑运算、乘除、位操作、位逻辑运算、跳转、条件跳转、调用返回堆栈操作、算术移位等)
- 片上调试功能
- 最短指令执行时间
- 约30.5μs(在32.768kHz系统时钟下)
- 约0.244μs(在4.096MHz系统时钟下),VDD = 2.0V至5.5V
- 约0.122μs(在8.192MHz系统时钟下),VDD = 2.2V至5.5V
- 内部存储器
- 闪存
- ML610Q327 - 192Kbyte(96Kx16位)程序区,重写周期为100次
- ML610Q338/ML610Q339 - 256Kbyte(128K×16位)程序区,重写周期为100次
- 数据闪存为2Kbyte(1Kx16位),重写周期为10,000次
- 内置后台操作(BGO)功能(CPU在数据闪存擦除/写入时继续进行程序处理)
- 内部RAM为4Kbyte(4Kx8位)
- 闪存
- 中断控制器
- 一个不可屏蔽的中断源是一个看门狗定时器
- 29个可屏蔽中断源
- 内部源有21个(数据闪存擦除/写入完成、SSIO0、SSIO1、UART0、UART1、I2C总线主/从接口、定时器0、定时器1、定时器2、定时器3、PWM0、PWM1、PWM2、A/D转换器、语音声音重现、扬声器引脚短路检测、TBC128Hz、TBC32Hz、TBC16Hz、TBC2Hz)。
- 外部源有8个(P80、P81、P82、P83、P84、P85、P86、P87)
- 时基计数器
- 低速时基计数器 x 1通道
- 高速时基计数器 x 1通道
- 看门狗定时器
- 第一次溢出时产生不可屏蔽中断,第二次溢出时系统复位。
- 自由运行
- 溢出期有四种类型,可选择125ms、500ms、2s和8s,32.768kHz时
- 定时器(8位 x 4通道(提供16位配置)
- PWM分辨率为16位 x 3通道
- 语音输出功能
- HQ-ADPCM、4位ADPCM2、非线性8位PCM、直线8位PCM和直线16位PCM的语音合成方法
- 6.4kHz、8kHz、10.7kHz、12.8kHz、16kHz、21.3kHz、25.6kHz和32kHz
- 逐次逼近型A/D转换器
- 10位模数转换器
- 8通道输入
- 4.096MHz VDD ≥ 2.2V时,每个通道的转换时间为24.4μs
- 8.192MHz VDD ≥ 2.5V时,每个通道的转换时间为12.2μs
- 可选择连续转换或单一转换
- 同步串行端口(SSIO)
- 2个通道
- 主/从可选
- 可选择LSB优先/MSB优先
- 8位长度/16位长度可选
- UART
- 半双工 x 2通道(使用2通道也可实现全双工)
- 发送端/RXD
- 比特长度、奇偶校验/无奇偶校验、奇数奇偶校验/偶数奇偶校验、1停止位/2停止位
- 正逻辑/负逻辑可选
- 内置波特率发生器
- I2C总线接口
- 主控功能(标准模式(100kbps)和快速模式(400kbps))
- 从属功能(标准模式(100kbps)和快速模式(400kbps))
- 通用端口
- 纯输出端口 x 6通道(包括辅助功能)
- 输入/输出端口(包括辅助功能)
- ML610Q327 26通道
- ML610Q338 30通道
- ML610Q339 42通道
- 扬声器放大器(D级)输出功率
- 1.0W(5.0V)/0.45W(3.0V)
- 断线检测电路
- 扬声器引脚短路检测电路
- 重置
- 通过RESET_N引脚复位
- 开机时产生开机复位
- 由看门狗定时器(WDT)溢出复位
- PLL振荡停止检测复位
- 低电平检测(LLD)复位
- 时钟
- 低速时钟(内置RC振荡器(32.768kHz)
- 高速时钟(内置PLL振荡(约1.024MHz/2.048MHz/4.096MHz/8.192MHz)
- 电源管理
- STOP模式(停止振荡(CPU和外围电路停止运行)
- HALT模式(CPU暂停执行指令(外围电路处于工作状态)
- 时钟齿轮(可通过软件改变高速系统时钟的频率(振荡时钟的1/2、1/4、1/8或1/16)
- 块控制功能(完整功能块电路的操作断电(寄存器、复位和时钟停止))
- 封装
- ML610Q327 48引脚TQFP(P-TQFP48-0707-0.50-ZK6)
- ML610Q338 52引脚TQFP(P-TQFP52-1010-0.65-ZK6)
- ML610Q339 64引脚TQFP(P-TQFP64-1010-0.50-ZK6)
- 保证运行范围
- −40°C 到 + 85 °C 工作温度
- 工作电压:VDD = 2.0V至5.5V、SPVDD = 2.0V至5.5V
应用
- 消费类电子产品
- 物联网 (IoT) 设备
- 汽车电子
- 工业自动化
- 玩具和教育产品
- 安全系统
- 可穿戴设备
发布日期: 2024-11-27
| 更新日期: 2024-12-23
