Texas Instruments UCC14141-Q1 5kVRMS隔离式直流-直流模块
Texas Instruments UCC14141-Q1 5kVRMS 隔离式DC-DC模块是符合汽车标准的高隔离电压DC-DC电源模块,设计用于为IGBT或SiC栅极驱动器供电。UCC14141-Q1集成了变压器和DC-DC控制器,采用专有架构,实现了高密度和极低排放。高精度输出电压可提供更好的沟道增强,从而提高系统效率,同时不会对功率器件栅极造成过大压力。UCC14141-Q1的输入电压既支持电动汽车宽泛的LiFePO4 电池电压 (8V-18V),也支持稳压的12V轨 (10.8V-13.2V),输出功率各不相同。Texas Instruments UCC14141-Q1是一款完全集成的模块,具有片上器件保护功能,需要非常少的外部元件,可提供额外的特性。这些特性包括输入欠压锁定、过压锁定、输出电压电源正常比较器、过热关断、软启动超时、可调隔离式正负输出电压、使能引脚和开漏输出电源正常引脚。
特性
- 采用隔离变压器的完全集成高密度隔离式直流/直流模块
- 隔离式直流/直流模块,用于驱动:IGBT、SiC FET
- 输入电压范围:8V至18V,绝对最大值为32V
- 10.8V < VIN < 13.2V,TA ≤ 85°C时输出功率:1.5W
- 8V < VIN < 18V,TA ≤ 85°C时输出功率:1W
- 可调 (VDD - VEE) 输出电压(使用外部电阻器):15V至25V,全温度范围内调节精度为±1.3%
- 可调 (COM - VEE) 输出电压(使用外部电阻器):2.5V至 (VDD - VEE),全温度范围内调节精度为±1.3%
- 使能、电源良好、UVLO、OVLO、软启动、短路、功率限制、欠压、过压和过热保护
- 采用扩频调制和集成变压器,电磁辐射低
- CMTI >150kV/µs
- 符合汽车应用类AEC-Q100标准
- 温度等级1:-40°C ≤ TJ ≤ 150°C
- 温度等级1:-40°C ≤ TA ≤ 125°C
- 支持功能安全
- 来辅助功能安全系统设计的文档
- 计划中的安全相关认证
- 7071VPK 加强隔离,符合DIN EN IEC 60747-17 (VDE 0884-17) 标准
- 5000VRMS 隔离1分钟,符合UL 1577标准
- 强化绝缘,符合CQC GB4943.1标准
- 36引脚、宽SSOP封装
应用
- 混合动力、电动和动力传动系统 (EV/HEV)
- 逆变器和电机控制
- 车载充电器 (OBC) 和无线充电器
- 直流-直流转换器
- 电网基础设施
- 电动汽车充电站电源模块
- 直流充电(桩)站
- 组列逆变器
- 电机驱动器
- 交流逆变器和VF驱动器、机器人伺服驱动器
- 工业运输
- 越野车辆电动驱动
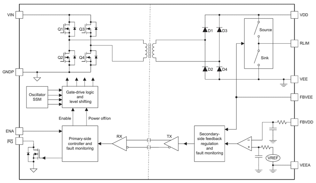
功能框图
设备比较表
发布日期: 2023-09-20
| 更新日期: 2024-03-11
